流量计液体测量中安装需要注意哪些
- 2017-11-15 16:31:00
- clcc123 原创
- 1665
1.液体流量计安装更加灵活,可以水平安装,也可以垂直安装。如果选择垂直安装,请确保其流体方向朝上。安装时要注意让管内充满液体,不要有气泡存在。
2.当安装液体流量计传感器时应注意远离外界的磁场,如果无法避免这种情况,还要采取相应的措施。液体流量计经过一段时间后可进行大修,此时传感器两端安装的旁路管道良好,这样可以保证液体的正常输送。
3.安装液体流量计时,有三种方式可供选择,分别为法兰连接,附加连接和螺纹连接,可根据实际情况选择安装方式。另外,在安装液体时,要注意其流量和外壳方向要一致。
当然,液体流量计在使用过程中还有很多值得注意的地方,只要客户按照制造商的说明来安装,就可以使液体流量计长期稳定可靠的运行。
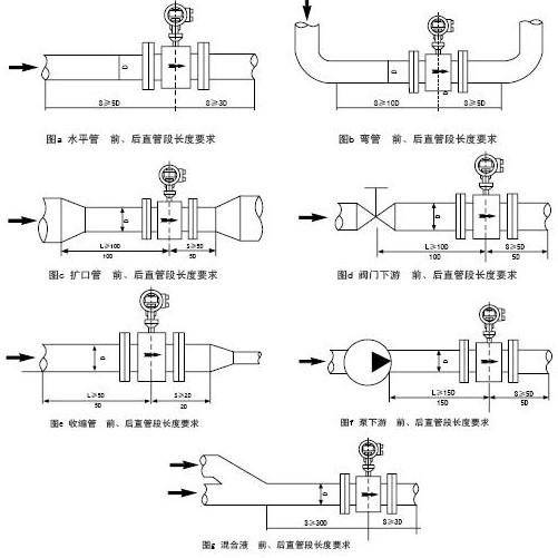
液体流量计(管式电磁流量计)安装图:
发表评论
文章分类
联系我们
电话:0517-86994588
传真:0517-86994577
客服:13915185455
客服:15152325949
邮箱:service@hs-0.com
邮编:211600
地址:金湖县工业园区
邮编:211600
传真:0517-86994577
客服:13915185455
客服:15152325949
邮箱:service@hs-0.com
邮编:211600
地址:金湖县工业园区
邮编:211600

